Отопительный твердотопливный котел SAS UWG 14
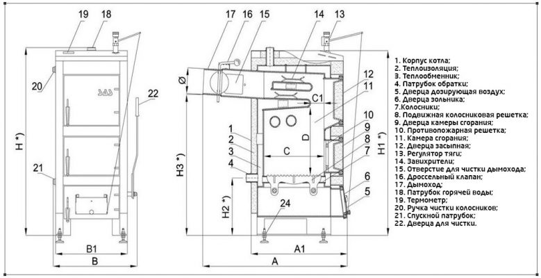
Предназначен для систем центрального отопления, открытого типа с принудительной или естественной циркуляцией воды.Твердотопливный котел SAS UWG 14 работает с использованием естественной тяги, поэтому его эксплуатация не требует использования электроэнергии.Процесс сжигания контролируется механическим регулятором тяги, который поставляется с котлом.Корпус котла изготовлен из котловой стали толщиной 6 мм (марка P265GH).Весь теплообменник изолирован минеральным утеплителем.Отличительной особенностью котла SAS UWG является устройство многоходового горизонтального теплообменника.Преимуществом котла является комфорт и простота использования, которая практически сводится только к периодический загрузке топлива.
Подключение источника ГВС
Функциональность твердотопливного котла отопления SAS UWG 14 легко можно расширить, добавив к нему бойлер косвенного нагрева. Подключение бойлера косвенного нагрева дает много преимуществ, в первую очередь это, конечно, неограниченные объемы горячей воды.За счет рециркуляции горячая вода идет сразу после открытия крана.Большинство бойлеров косвенного нагрева оснащаются электрическим тэном, который используется в теплый сезон, когда отопительный котел отключен.
Производитель: SAS
Завод изготовитель: 28-100 Busko-Zdrój Owczary, ul. Przemysłowa 3, Польша













Отзывы
Отзывов пока нет.